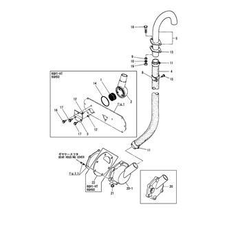
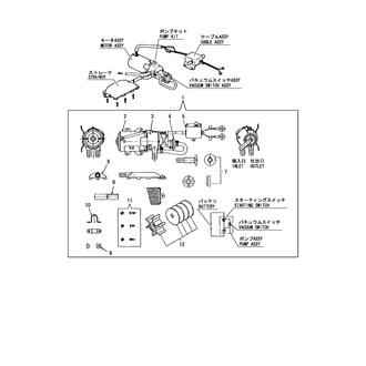
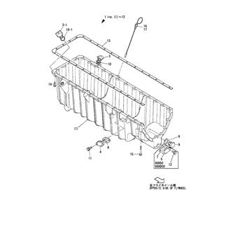
6GHD50 Large Grid View Table View FIG 1. CYLINDER BLOCK 0CG10-M23204_0001_02 Information FIG 10. ENGINE LIFTER 0CG10-M23204_0010_02 Information FIG 12. CYLINDER HEAD(6GH50/6GHD50/6GHD50A) 0CG10-M23204_0012_02 Information FIG 13. BONNET 0CG10-M23204_0013_02 Information FIG 16. SUCTION MANIFOLD(6GHD50:UP TO E00184) 0CG10-M23204_0016_02 Information FIG 17. SUCTION MANIFOLD(6GHD50:FROM E00185)(6GHD50A) 0CG10-M23204_0017_02 Information FIG 19. EXHAUST MANIFOLD 0CG10-M23204_0019_02 Information FIG 20. EXHAUST PIPE 0CG10-M23204_0020_02 Information FIG 21. EXHAUST PIPE(OPTIONAL) 0CG10-M23204_0021_02 Information FIG 22. CAMSHAFT 0CG10-M23204_0022_02 Information FIG 26. CRANKSHAFT & FLYWHEEL 0CG10-M23204_0026_02 Information FIG 27. PISTON & CONNECTING ROD 0CG10-M23204_0027_02 Information FIG 28. IDLE GEAR 0CG10-M23204_0028_02 Information FIG 29. LUB.OIL PUMP 0CG10-M23204_0029_02 Information FIG 3. GEAR HOUSING(6GHD50/6GHD50A) 0CG10-M23204_0003_02 Information FIG 30. LUB.OIL COOLER 0CG10-M23204_0030_02 Information FIG 31. LUB.OIL PRESSURE CONTROL VALVE 0CG10-M23204_0031_02 Information FIG 32. LUB.OIL SUCTION PIPE 0CG10-M23204_0032_02 Information FIG 33. LUB.OIL STRAINER 0CG10-M23204_0033_02 Information FIG 34. LUB.OIL WASTE PUMP 0CG10-M23204_0034_02 Information FIG 35. LUB.OIL THERMOSTAT 0CG10-M23204_0035_02 Information FIG 36. LUB.OIL PIPE 0CG10-M23204_0036_02 Information FIG 37. COOLING SEA WATER PUMP 0CG10-M23204_0037_02 Information FIG 38. COOLING FRESH WATER PUMP 0CG10-M23204_0038_02 Information FIG 39. COOLING FRESH WATER COOLER(6GH1-HT/6GH50/6GHD50) 0CG10-M23204_0039_02 Information FIG 4. FLYWHEEL HOUSING 0CG10-M23204_0004_02 Information FIG 40. COOLING FRESH WATER COOLER BRACKET 0CG10-M23204_0040_02 Information FIG 41. SUB-TANK 0CG10-M23204_0041_02 Information FIG 42. KINGSTON COCK 0CG10-M23204_0042_02 Information FIG 43. THERMOSTAT 0CG10-M23204_0043_02 Information FIG 46. COOLING SEA WATER PIPE 0CG10-M23204_0046_02 Information FIG 48. COOLING PIPE(FRESH WATER)(FROM 1986.3) 0CG10-M23204_0048_02 Information FIG 49. FUEL INJECTION PUMP 0CG10-M23204_0049_02 Information FIG 5. LUB.OIL SUMP(6GH1-HT/6GH50/6GHD50) 0CG10-M23204_0005_02 Information FIG 50. FUEL INJECTION PUMP COMPONENT PARTS 0CG10-M23204_0050_02 Information FIG 51. FUEL FEED PUMP COMPONENT PARTS 0CG10-M23204_0051_02 Information FIG 52. GOVERNOR COMPONENT PARTS 0CG10-M23204_0052_02 Information FIG 53. JOINT & TIMER COMPONENT PARTS 0CG10-M23204_0053_02 Information FIG 54. FUEL INJECTION VALVE 0CG10-M23204_0054_02 Information FIG 55. FUEL INJECTION PUMP DRIVING DEVICE 0CG10-M23204_0055_02 Information FIG 56. FUEL INJECTION PUMP BRACKET 0CG10-M23204_0056_02 Information FIG 58. FUEL STRAINER(FROM 1983.10) 0CG10-M23204_0058_02 Information FIG 60. FUEL PIPE 0CG10-M23204_0060_02 Information FIG 62. ENGINE STOP DEVICE(6GHD50/6GHD50A) 0CG10-M23204_0062_02 Information FIG 64. STARTING MOTOR(1990.4 TO 2009.10) 0CG10-M23204_0064_02 Information FIG 65. GENERATOR 0CG10-M23204_0065_02 Information FIG 67. GENERATOR COMPONENT PARTS(6GHD50/6GHD50A) 0CG10-M23204_0067_02 Information FIG 68. GENERATOR DRIVING DEVICE 0CG10-M23204_0068_02 Information FIG 69. WIRE HARNESS 0CG10-M23204_0069_02 Information FIG 7. ENGINE BRACKET(6GHD50/6GHD50A) 0CG10-M23204_0007_02 Information FIG 71. CLUTCH 0CG10-M23204_0071_02 Information FIG 73. INSTRUMENT PANEL(UP TO 1993.7) 0CG10-M23204_0073_02 Information FIG 74. INSTRUMENT PANEL(1993.7 TO 1999.1) 0CG10-M23204_0074_02 Information FIG 75. BILGE PUMP(UP TO 1992.7) 0CG10-M23204_0075_02 Information FIG 76. BILGE PUMP(STD)(UP TO 1993.11) 0CG10-M23204_0076_02 Information FIG 77. BATTERY SWITCH 0CG10-M23204_0077_02 Information FIG 79. TOOL 0CG10-M23204_0079_02 Information FIG 8. BREATHER(6GH1-HT/6GH50/6GHD50) 0CG10-M23204_0008_02 Information FIG 89. (76A)BILGE PUMP(DX)(UP TO 1993.11) 0CG10-M23204_0089_02 Information FIG 9. LABEL 0CG10-M23204_0009_02 Information FIG 90. (76B)BILGE PUMP(STD)(1993.11 TO 1996.12) 0CG10-M23204_0090_02 Information FIG 91. (76C)BILGE PUMP(DX)(1993.11 TO 1996.12) 0CG10-M23204_0091_02 Information FIG 92. (76D)BILGE PUMP(STD)(FROM 1997.1) 0CG10-M23204_0092_02 Information